浙江j9国际站官网入口液压科技股份有限公司
j9国际站官网入口液压产品覆盖工程、农业、矿山、工业、环保和军工等各类车辆配套的液压阀、油缸

手机版 微官网 English


销售热线

技术热线:0576-85183757


操纵阀系列

所在位置:首页 液压产品 > 操纵阀系列 >


关键词:多路阀系列先导阀系列制动阀系列操纵阀系列农机阀系列转向阀系列

>

产品分类 Product Lists

全国服务热线:

0576-85182037

产品样册下载

销售电话:0576-85182037
技术电话:0576-85183757
传真号码:0576-85182843
联系邮箱:haihong@cn-hydraulic.com
公司地址:浙江省临海市江南街道金岭路199号


上一篇:4D180系列电液控制操纵阀 下一篇:没有了

产品特点

  • 结构紧凑,安装方便;

    提制方式:电液控制,减轻操作者的疲劳强度;

  • 设有常开倒灯开关,具有警示和安全作用;

    微动性能好。


应用领域

该系列变速操纵阀主要适用于叉车、牵引车等行走机械变速箱系统。

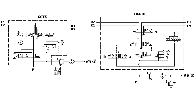
液压原理图

159 160

技术参数(对超出下述参数的应用场合,请与我公司联系)

概述

控制方式

电液或手动控制

安装方式

见外形图

液压

公称压力bar

25

公称流量 L/min

25

定压阀调定压力 bar

11~15

阀芯操纵力 N

max. 120

额定电压UR V

DC 12或24

额定电流 IR A

max. 1.2A(在额定电压,25℃温度下测定)

液压油温度范围℃

-20~+100

粘度范围m2/s

10~380

油液允许的污染等级

-/19/16 (ISO4406:1999)

机械

重量kg CCT4约8.8kg

CCT5约11.3kg

CCT6约18kg

DCCT4约9.8kg

DCCT5约12.3kg

DCCT6约19kg

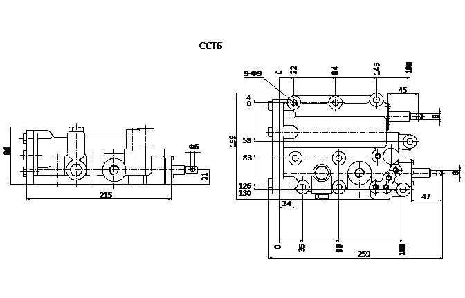
外形尺寸

162 163


相关产品



j9国际站官网入口液压

销售热线:0576-85182037


技术热线:0576-85183757   传真号码:0576-85182843
联系邮箱:haihong@cn-hydraulic.com   公司地址:浙江省临海市江南街道金岭路199号

友情链接: 多路阀系列 先导阀系列 制动阀系列 操纵阀系列 农机阀系列 转向阀系列 Sitemap TXT Sitemap XML 网站地图

微信二维码
微信官网

手机端二维码
手机官网